Modèles & Marques
GL
Documents
Docs
Annonces
Forum
Connexion
Base documentaire
Retrouvez les magazines dans notre nouvel espace avec visionneuse intégrée :
https://magazines.retrotechnique.org
Document n° 90459
Nombre de fichiers : 1
Placé par : Bozec
Origine : Lecoeur serge
Mise en ligne : 26/11/2020
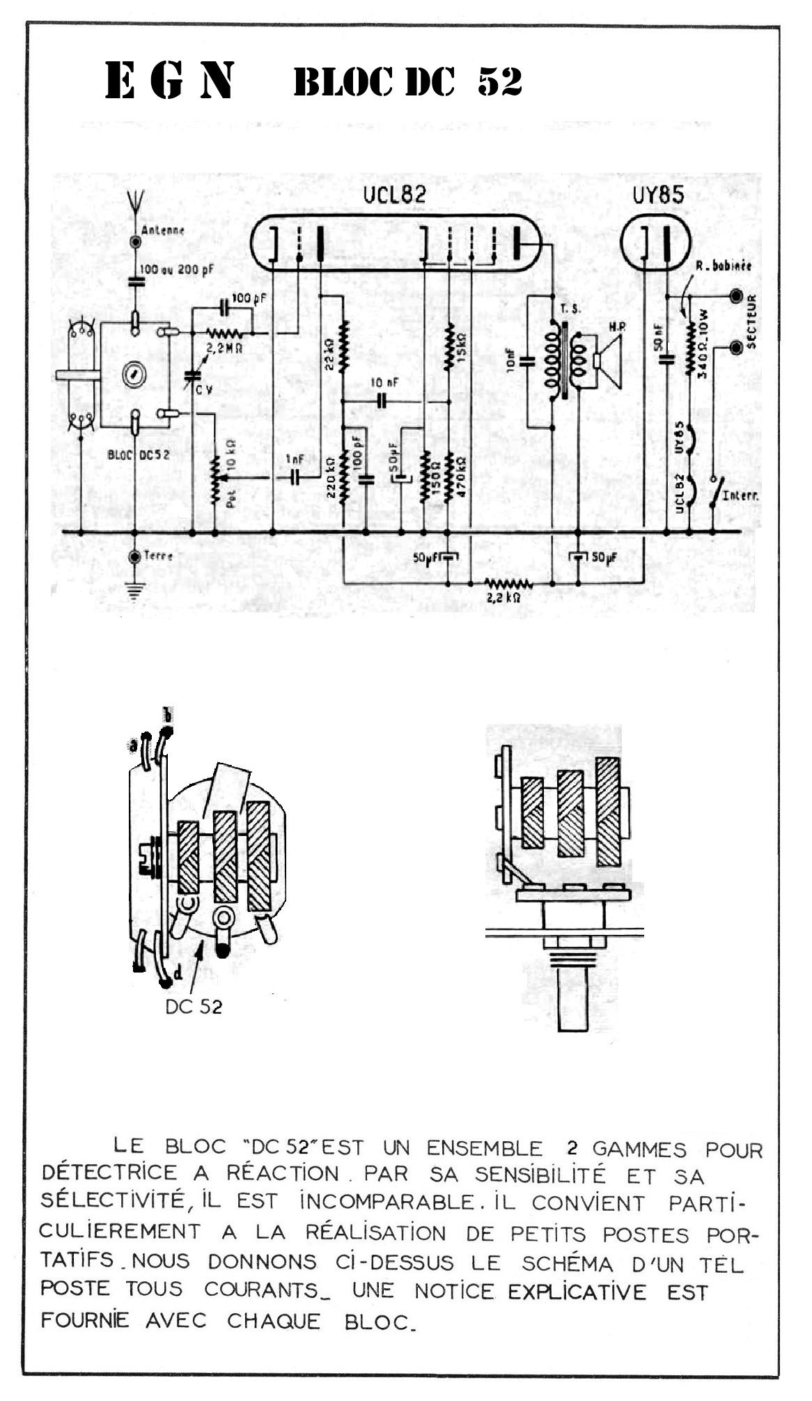
EGN DC52
Parution : 0
En lien avec le modèle
E.G.N. - Bloc DC 52
p. 1
Signaler un contenu erroné ou une anomalie