Modèles & Marques
GL
Documents
Docs
Annonces
Forum
Connexion
Base documentaire
Retrouvez les magazines dans notre nouvel espace avec visionneuse intégrée :
https://magazines.retrotechnique.org
Documents
->
Blocs d'accord (recueils)
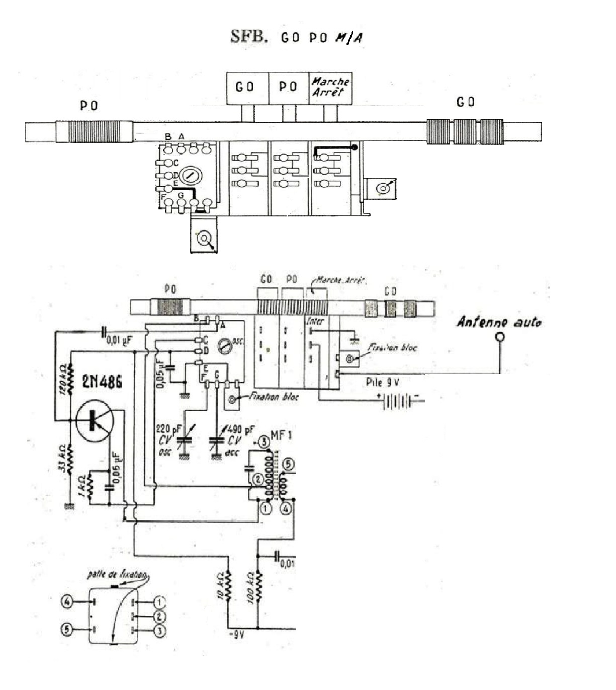
Document n° 90212
Nombre de fichiers : 1
Placé par : Bozec
Origine : Lecoeur serge
Mise en ligne : 07/11/2020
SFB GO, PO, M A
Parution : 0
En lien avec la série
Blocs d'accord (recueils)
p. 1
Signaler un contenu erroné ou une anomalie