Modèles & Marques
GL
Documents
Docs
Annonces
Forum
Connexion
Base documentaire
Retrouvez les magazines dans notre nouvel espace avec visionneuse intégrée :
https://magazines.retrotechnique.org
Documents
->
Blocs d'accord (recueils)
Document n° 89984
Nombre de fichiers : 1
Placé par : Bozec
Origine : Serge Lecoeur
Mise en ligne : 29/10/2020
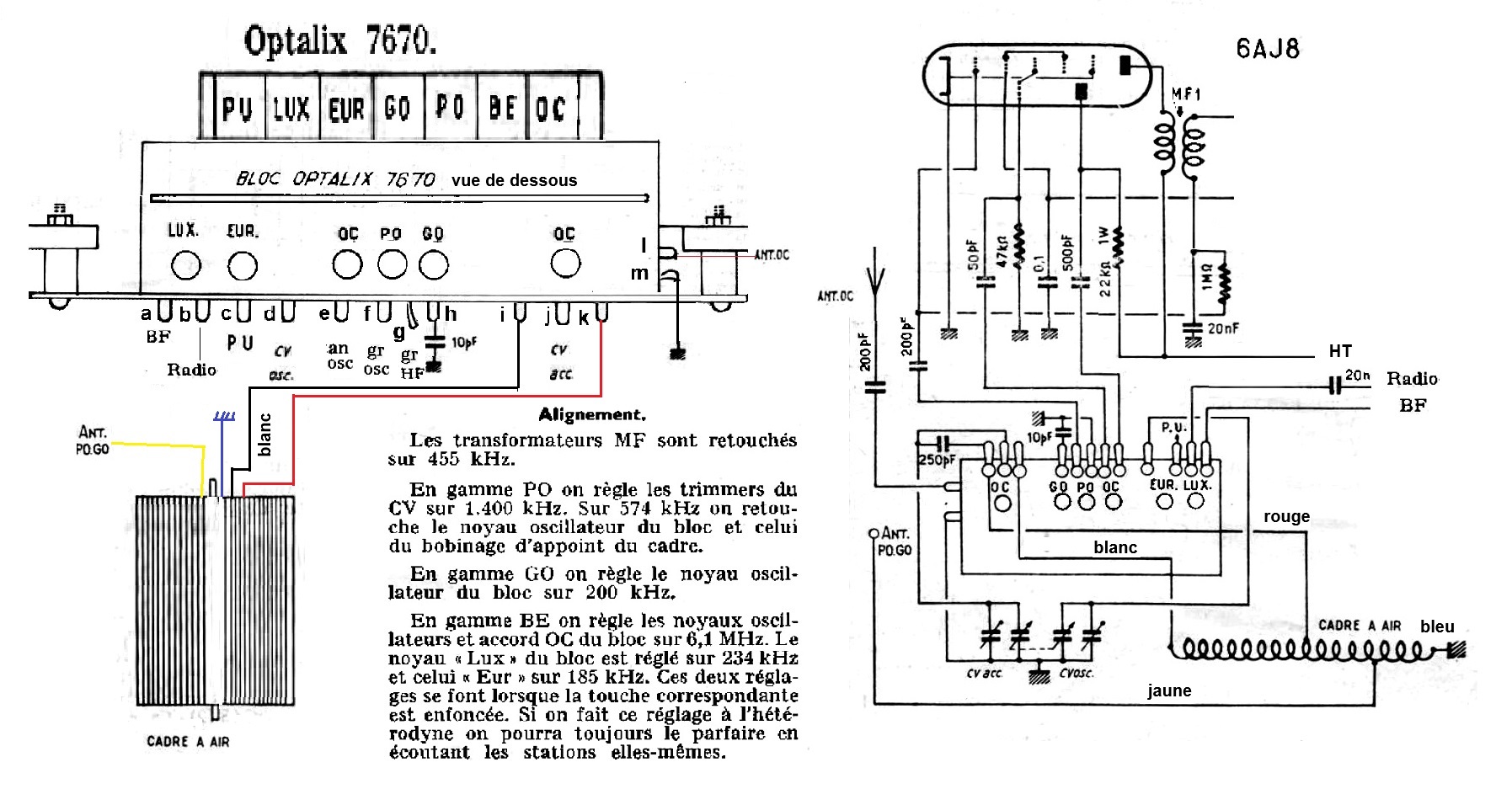
Optalix 7670
Parution : 0
En lien avec le modèle
Optalix - Bloc 7670
p. 1
Signaler un contenu erroné ou une anomalie