Modèles & Marques
GL
Documents
Docs
Annonces
Forum
Connexion
Base documentaire
Retrouvez les magazines dans notre nouvel espace avec visionneuse intégrée :
https://magazines.retrotechnique.org
Documents
->
Blocs d'accord (recueils)
Document n° 89923
Nombre de fichiers : 1
Placé par : Bozec
Origine : Lecoeur serge
Mise en ligne : 27/10/2020
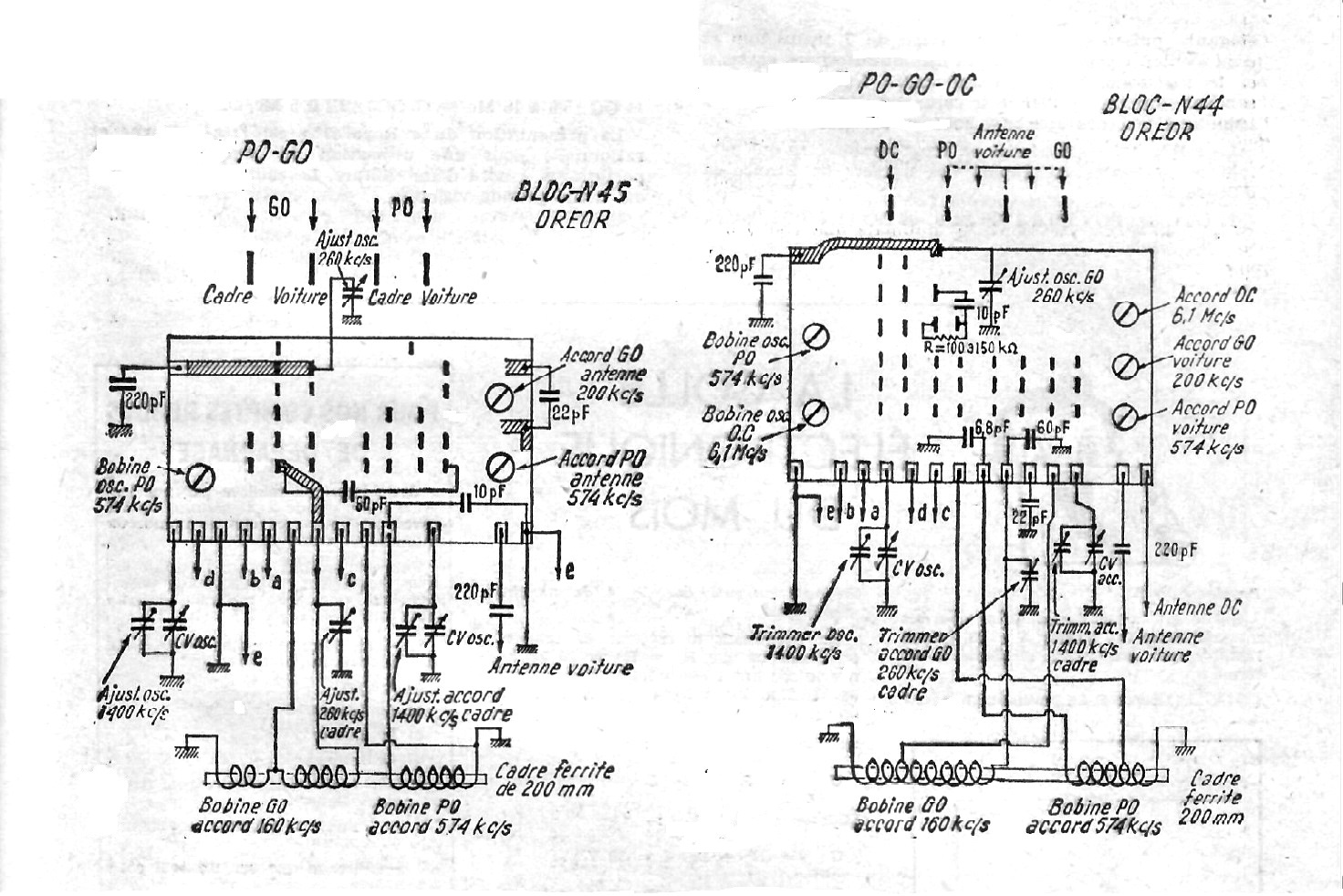
Oreor N44 et N45
Parution : 0
En lien avec la série
Blocs d'accord (recueils)
p. 1
Signaler un contenu erroné ou une anomalie