Modèles & Marques
GL
Documents
Docs
Annonces
Forum
Connexion
Base documentaire
Retrouvez les magazines dans notre nouvel espace avec visionneuse intégrée :
https://magazines.retrotechnique.org
Document n° 81963
Nombre de fichiers : 1
Placé par : Semreh
Origine : collections personnelle
Mise en ligne : 04/08/2020
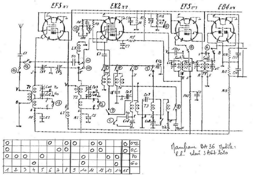
schéma de la partie HF relevé 08 2020
Parution : 0
En lien avec le modèle
Manufrance - BA 36
p. 1
Signaler un contenu erroné ou une anomalie