Modèles & Marques
GL
Documents
Docs
Annonces
Forum
Connexion
Base documentaire
Retrouvez les magazines dans notre nouvel espace avec visionneuse intégrée :
https://magazines.retrotechnique.org
Document n° 80948
Nombre de fichiers : 1
Placé par : Pais_antonio
Mise en ligne : 11/05/2020
Schéma
Parution : 0
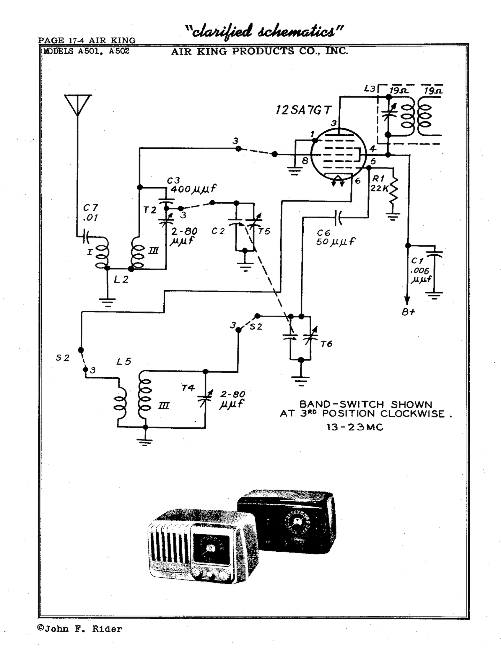
En lien avec le modèle
Air-King - A 502
p. 1
Signaler un contenu erroné ou une anomalie