Modèles & Marques
GL
Documents
Docs
Annonces
Forum
Connexion
Base documentaire
Retrouvez les magazines dans notre nouvel espace avec visionneuse intégrée :
https://magazines.retrotechnique.org
Documents
->
Dossiers thématiques
Document n° 79144
Nombre de fichiers : 7
Placé par : Tonnelier_jean_pierre
Origine : Ma collection
Mise en ligne : 16/03/2020
Lorsque le créateur du pdf est renseigné,
cette information est visible dans le menu "propriétés" de votre lecteur pdf.
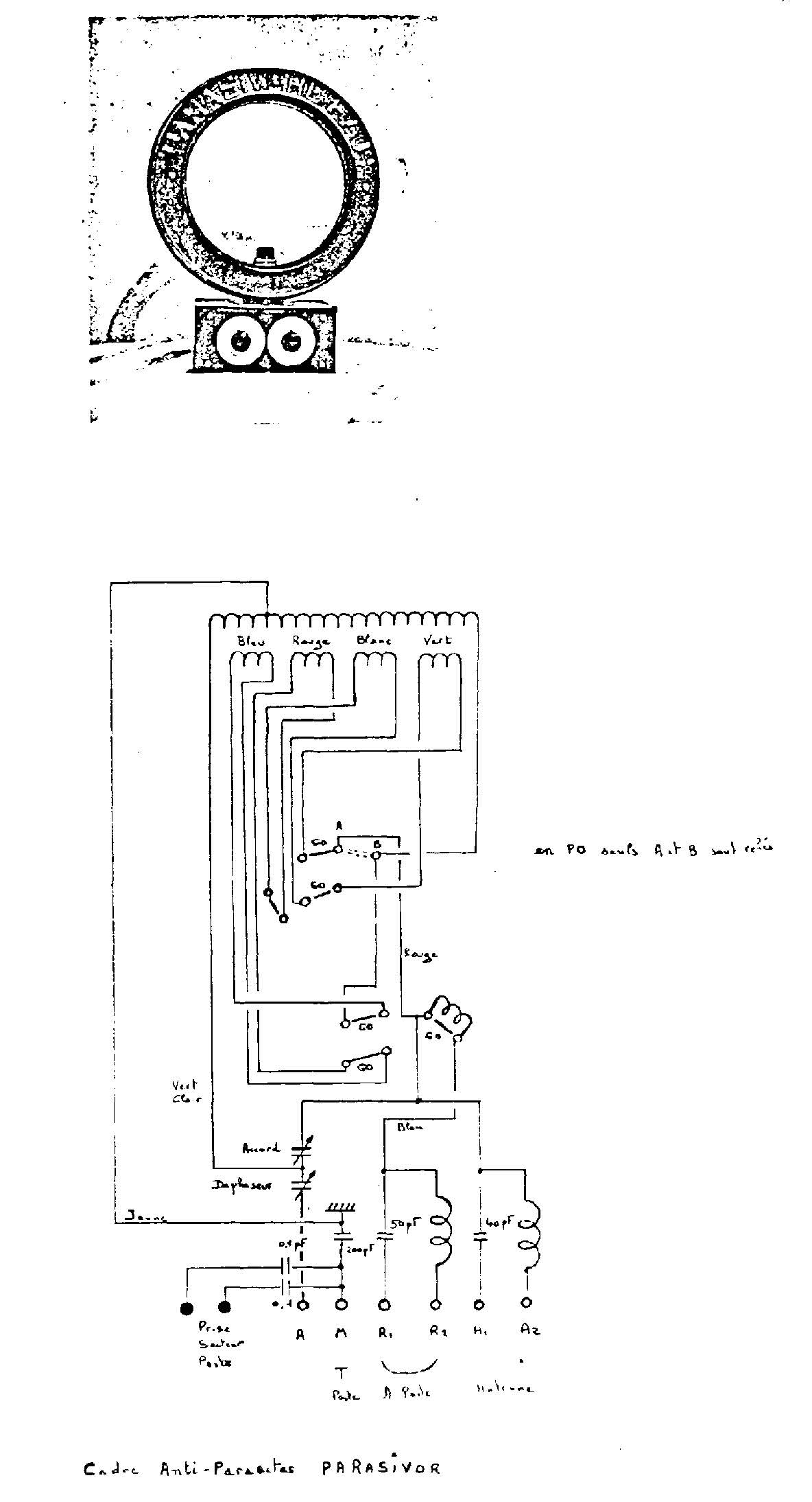
Les cadres de réception et antennes
Parution : 0
En lien avec la série
Dossiers thématiques
p. 1
p. 2
p. 3
p. 4
p. 5
p. 6
p. 7
Signaler un contenu erroné ou une anomalie
cette information est visible dans le menu "propriétés" de votre lecteur pdf.