Modèles & Marques
GL
Documents
Docs
Annonces
Forum
Connexion
Base documentaire
Retrouvez les magazines dans notre nouvel espace avec visionneuse intégrée :
https://magazines.retrotechnique.org
Document n° 7616
Nombre de fichiers : 1
Placé par : Japa
Mise en ligne : 13/12/2009
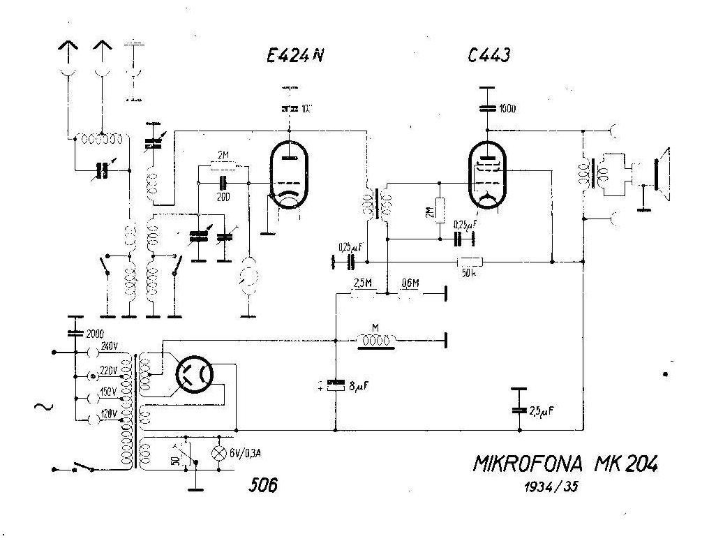
MK 204
Parution : 1934
En lien avec le modèle
Mikrofona - MK 204
p. 1
Signaler un contenu erroné ou une anomalie