Modèles & Marques
GL
Documents
Docs
Annonces
Forum
Connexion
Base documentaire
Retrouvez les magazines dans notre nouvel espace avec visionneuse intégrée :
https://magazines.retrotechnique.org
Documents
->
Blocs d'accord (recueils)
Document n° 44501
Nombre de fichiers : 25
Placé par : Joel22
Origine : personnel
Mise en ligne : 03/11/2014
Oméga, Securit, Visodion Blocs divers
Parution : 0
En lien avec les modèles
Oméga - Oréga - Bloc Castor 3 Gammes
Oméga - Oréga - Bloc Dauphin 4 Gammes
Oméga - Oréga - Bloc Pollux
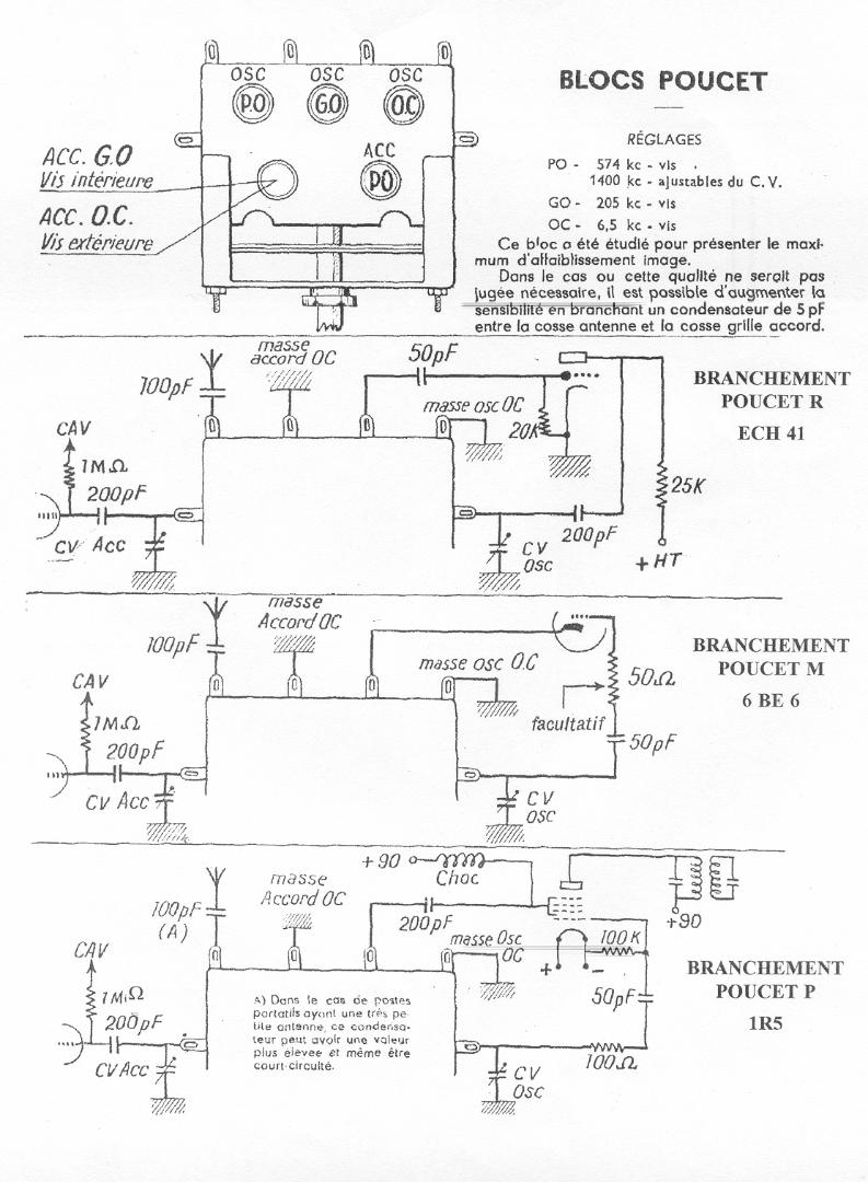
Oréor - Bloc Poucet
Oréor - Bloc type maritime
Securit - Bloc 303
Securit - Bloc 304
Securit - Bloc 306
Securit - Bloc 426
Securit - Bloc 427
Securit - Bloc 722
Supersonic (Fr) - Bloc colonial 63
Visodion - Bloc R 214
En lien avec la série
Blocs d'accord (recueils)
p. 1
p. 2
p. 3
p. 4
p. 5
p. 6
p. 7
p. 8
p. 9
p. 10
p. 11
p. 12
p. 13
p. 14
p. 15
p. 16
p. 17
p. 18
p. 19
p. 20
p. 21
p. 22
p. 23
p. 24
p. 25
Signaler un contenu erroné ou une anomalie