Modèles & Marques
GL
Documents
Docs
Annonces
Forum
Connexion
Base documentaire
Retrouvez les magazines dans notre nouvel espace avec visionneuse intégrée :
https://magazines.retrotechnique.org
Document n° 3959
Nombre de fichiers : 2
Placé par : Aufils Raynal
Origine : Radio Constructeur et Dépanneur 1958
Mise en ligne : 14/02/2009
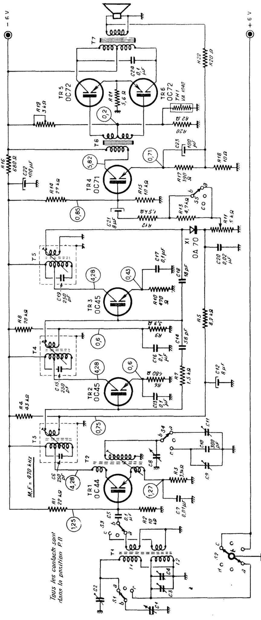
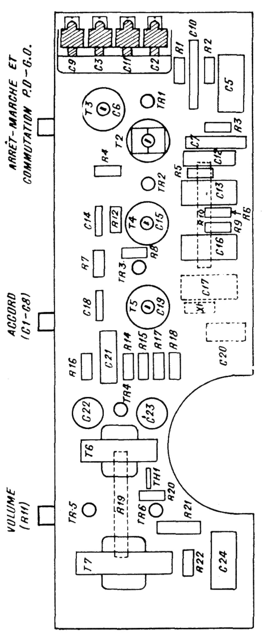
RT-1
Parution : 1958
En lien avec le modèle
Roberts Radio - RT-1
p. 1
p. 2
Signaler un contenu erroné ou une anomalie