Modèles & Marques
GL
Documents
Docs
Annonces
Forum
Connexion
Base documentaire
Retrouvez les magazines dans notre nouvel espace avec visionneuse intégrée :
https://magazines.retrotechnique.org
Document n° 32855
Nombre de fichiers : 1
Placé par : Tailliez Jacques
Mise en ligne : 20/09/2011
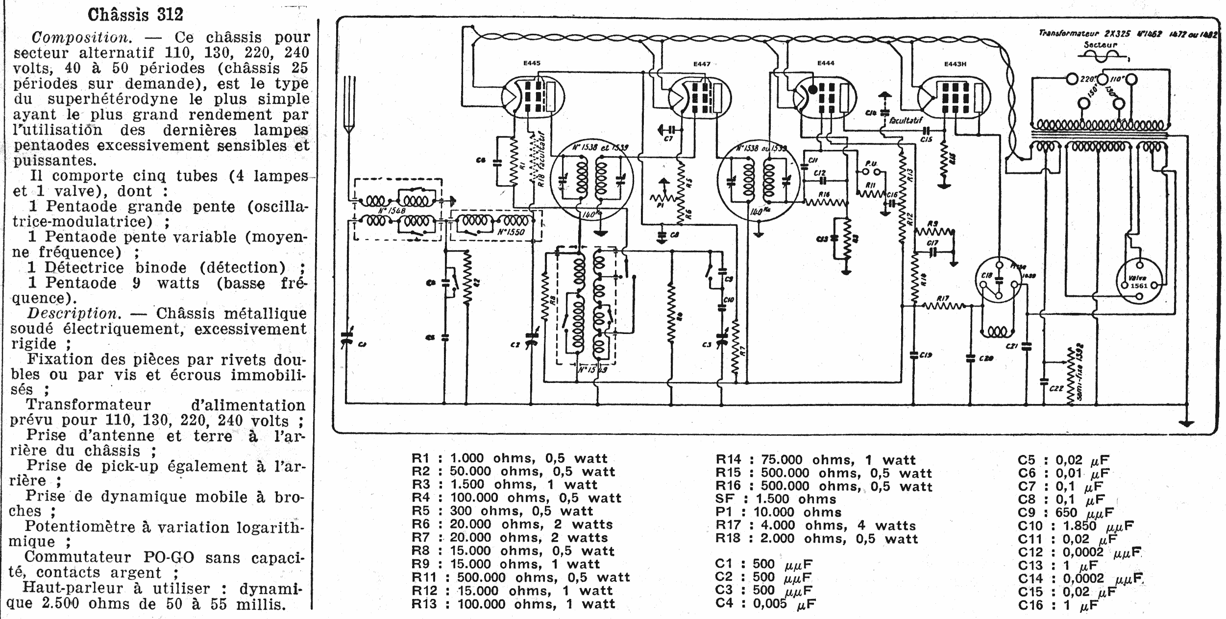
312
Parution : 1933
En lien avec le modèle
Unic-Radio - 312
p. 1
Signaler un contenu erroné ou une anomalie