Modèles & Marques
GL
Documents
Docs
Annonces
Forum
Connexion
Base documentaire
Retrouvez les magazines dans notre nouvel espace avec visionneuse intégrée :
https://magazines.retrotechnique.org
Documents
->
Schémas, manuels de service
->
Schémas et manuels de service par marque et modèle
Document n° 2713
Nombre de fichiers : 2
Placé par : Aufils Raynal
Mise en ligne : 06/12/2008
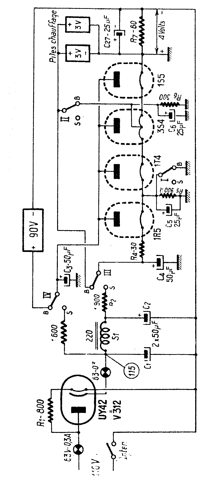
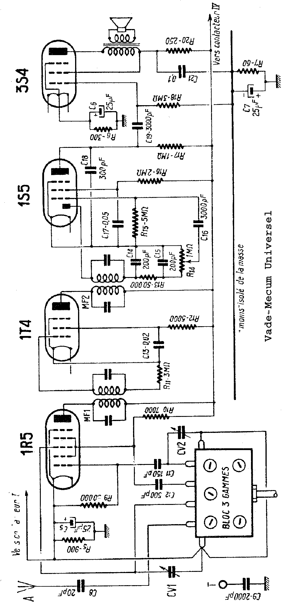
Vade-Mecum universel
Parution : 1949
En lien avec le modèle
Radio Marino - Vade-Mecum universel
p. 1
p. 2
Signaler un contenu erroné ou une anomalie