Modèles & Marques
GL
Documents
Docs
Annonces
Forum
Connexion
Base documentaire
Retrouvez les magazines dans notre nouvel espace avec visionneuse intégrée :
https://magazines.retrotechnique.org
Document n° 20334
Nombre de fichiers : 1
Placé par : Jean-michel_bourque
Origine : STR0193
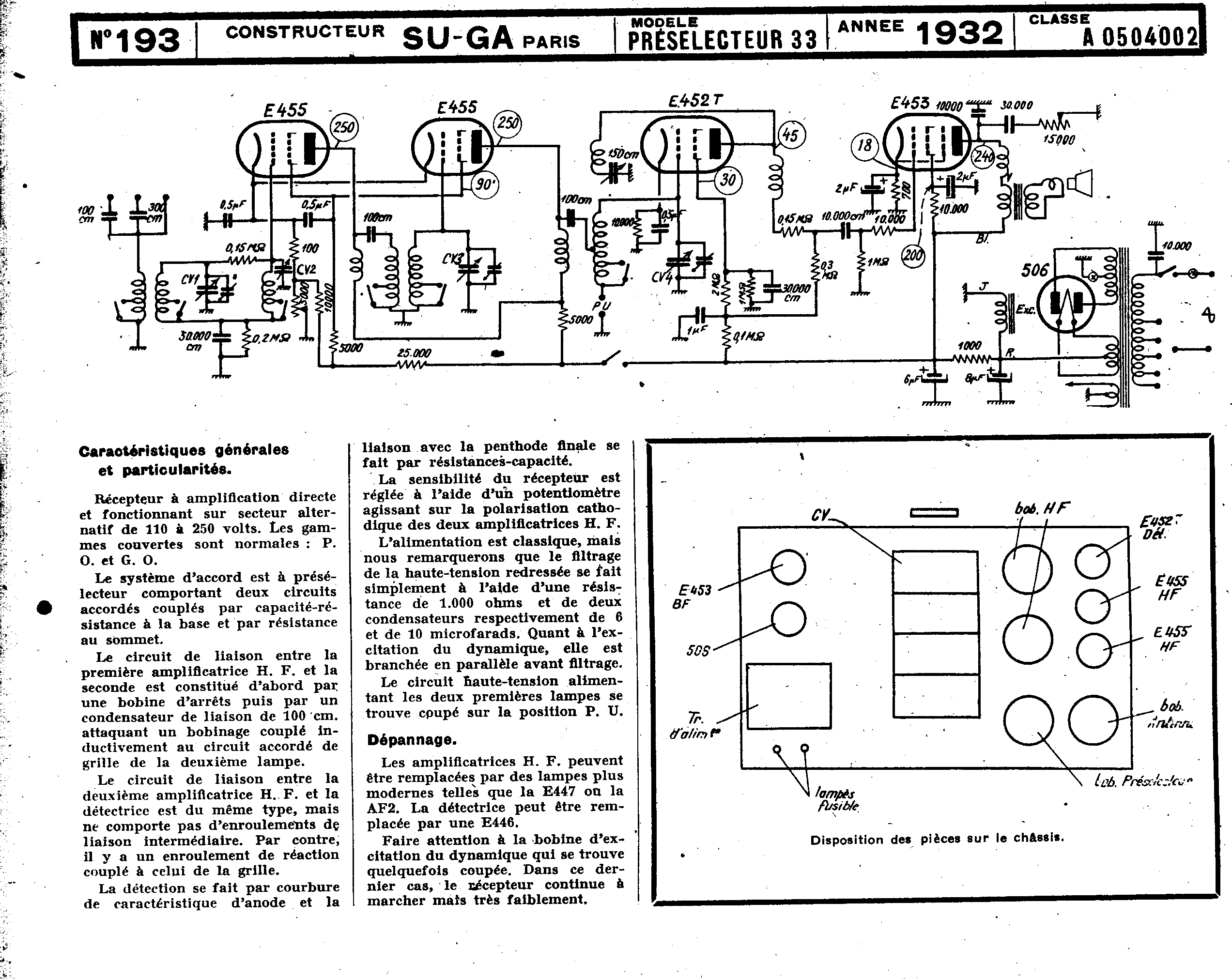
Su-ga Préselecteur 33 Schéma Schémathèque Toute la Radio
Parution : 0
En lien avec le modèle
SU-GA - Préselecteur 33
p. 1
Signaler un contenu erroné ou une anomalie